•  联系电话:0915-3356512
  •  投稿邮箱:news@akxw.cn
 > 新闻 > 安康 > 安康
十四运会,你需要知道的10条小常识
2021-05-04  来源:本站原创

1.什么是全运会?JmU安康新闻网

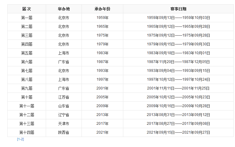
中华人民共和国全国运动会,简称“全运会”。全国运动会是中国国内水平最高,规模最大的综合性运动会。全运会的比赛项目每届都会有微调,除武术外,基本与奥运会相同。其原意是为国家的奥运战略锻炼新人、选拔人才。全运会每四年举办一次,一般在奥运会年前后举行。首届全运会1959年 在北京举办。前九届全运会由北京、上海、广东三地轮流举办。2001年初,国务院办公厅正式发布了《关于取消全国运动会由北京、上海、广东轮流举办限制的函》。JmU安康新闻网

历届举办地与时间JmU安康新闻网

JmU安康新闻网

2.第十四届全国运动会在哪里举行?JmU安康新闻网

2015年12月29日,国务院正式批复同意陕西省承办2021年第十四届全国运动会。为做好筹备工作,2016年7月,陕西省委、省政府办公厅印发了《第十四届全国运动会总体工作方案》;9月,陕西省政府召开了第十四届全国运动会陕西省筹备委员会成立大会暨第一次工作会议,组建了由省长为主任的筹备委员会。JmU安康新闻网

2017年9月8日,在天津全运会闭幕式上,陕西省接过全运会会旗,标志着第十四届全国运动会进入陕西时间。JmU安康新闻网

2020年4月,习近平总书记来陕考察时指出,第十四届全运会将在陕西举办,要做好筹办工作,办一届精彩圆满的体育盛会。JmU安康新闻网

第十四届全国运动会将于2021年9月15日至9月27日在陕西省举行。JmU安康新闻网

3.第十四届全国运动会会徽、吉祥物,主题口号是什么?JmU安康新闻网

JmU安康新闻网

第十四届全国运动会会徽取象传统礼天玉璧。玉为自然之精华,玉璧为致敬上天礼器。寓意全国人民以最好的精神面貌庆祝第一个百年梦想的实现和第二个百年梦想的到来。JmU安康新闻网

会徽设计方案主要由中心部分、环形部分、主体色彩三方面构成。虚实相间,动静结合。JmU安康新闻网

中心部分为宝塔山、延河水和五孔窑洞,它们是中国革命的灯塔。表达全国人民在中国共产党领导下迎接中华民族伟大复兴道路任何挑战的坚强意志。JmU安康新闻网

环形部分将玉璧纹饰幻化成田径、球类、游泳三个运动项目人形,体现全民全运的理念,展示全国人民万众一心、团结向上、奋力拼搏、逐梦圆梦,为中华民族伟大复兴不懈奋斗的精神风貌。JmU安康新闻网

会徽以黄、绿、蓝、紫、红为主色调,其中黄色象征黄土高天,红色象征革命圣地,绿色象征生态文明,蓝色象征现代科技,紫色象征文化魅力,呈现中华民族伟大复兴的深厚历史渊源和广泛现实基础。JmU安康新闻网

JmU安康新闻网

吉祥物设计方案是以陕西秦岭独有的四个国宝级动物“朱鹮、大熊猫、羚牛、金丝猴”为创意原型,设计了一组幸福快乐、充满活力、精神焕发、积极向上的运动吉祥物形象。JmU安康新闻网

朱鹮“朱朱”,手举火炬,展翅飞跑;大熊猫“熊熊”,张开双臂,热情奔放;羚牛“羚羚”,健壮憨萌,阔步向前;金丝猴“金金”,聪明智慧、灵动可爱。身着“富裕黄”、“圣地红”、“梦想蓝”、“生态绿”运动装的吉祥物组合,分别寓意奔向新时代、喜迎八方客、同享新生活、共筑中国梦。JmU安康新闻网

“秦岭四宝”正以昂扬的斗志,不忘初心、团结一致,奔跑在建设体育强国、实现全面小康、构筑中华民族伟大复兴中国梦的道路上。JmU安康新闻网

中华人民共和国第十四届运动会主题口号:全民全运,同心同行。JmU安康新闻网

4、十四届全运会比赛项目有哪些? JmU安康新闻网

JmU安康新闻网

2021第十四届全国运动会项目设置(包括34个大项,387个小项)。34大项包括游泳、射箭、田径、羽毛球、篮球、拳击、皮划艇、自行车、马术、击剑、足球、高尔夫球、体操、手球、曲棍球、柔道、现代五项、赛艇、橄榄球、帆船、射击、乒乓球、跆拳道、网球、铁人三项、排球、举重、摔跤、棒垒球、空手道、滑板、攀岩、冲浪、武术。JmU安康新闻网

5.安康承办第十四届全运会比赛项目有哪些?JmU安康新闻网

安康承办陕西省第十四届全运会比赛项目有武术散打、10公里马拉松游泳赛。JmU安康新闻网

6.陕西省为什么会将武术散打及水上马拉松游泳赛事放在安康?JmU安康新闻网

武术作为安康市的传统项目和优势项目,有着广泛的群众基础和武术文化底蕴,受到省体育局的长期关注,像武术散打世界冠军陈龙,亚洲散打锦标赛冠军汪林平、运动员罗俪、马新安等都是我市培养输送的优秀运动员,所以将武术散打放在安康举办是竞技体育和群众体育相结合的最佳展示和体现。JmU安康新闻网

10公里马拉松游泳是人融入大自然,挑战大自然的一个竞技项目,安康的汉江水域瀛湖,有着得天独厚的自然条件,4A级风景区,常年在汉江游泳的人群数以千计,群众基础广泛,由我市培养输送的青少年运动员在全省和全国大赛也屡获佳绩。JmU安康新闻网

7.安康分赛场近期赛事有哪些看点?JmU安康新闻网

武术散打项目测试赛共计男女甲、乙组23级别的角逐,来自全省9支队伍,教练员、运动员共计94人参赛,赛程5月7、8日两天,此次比赛参赛运动员以2019年陕西省青少年武术散打锦标赛前8名的运动员为主,以2020年陕西省青少年武术散打锦标赛前8名的运动员为替补运动员。出内拔萃者众多,比赛也会非常精彩。JmU安康新闻网

10公里马拉松游泳项目是以邀请的形式组织比赛,会有来自全省9支代表队,50人参赛,比赛分男、女专业组和公开组的四个项目的角逐,赛程7月3日一天。比赛邀请的都是陕西省马拉松游泳的专业队选手,像男子选手赵俊博航、刘鲁鹏、女子选手屈芳、绍心然、郝静岑都是全国个人冠军或团体冠军,由我市输送的优秀运动员郝静岑也已经取得了全运会10公里马拉松项目的参赛资格,期待她这次比赛取得好成绩。JmU安康新闻网

8.武术散打测试赛安康代表队几人参赛?具体特点怎样?过往战绩如何?有望取得怎样的成绩?JmU安康新闻网

安康代表团由1名领队、2名教练、6名运动员组成,其中男队员4名、女队员2名。男甲65公斤级运动员陈国强,擅长抢点,头脑灵活能很快理解教练员布置的战术,曾获得过2017年陕西省散打锦标赛乙组48公斤级冠军、2018年陕西省第十六届省运会散打锦标赛乙组56公斤级冠军、2019年乙组65公斤级冠军、2020年甲组65公斤级冠军,并获得二级运动员称号。男甲65公斤级运动员荔祥,反应速度快、敢打敢拼,能够在比赛中力压对手,获得过2019年陕西省青少年散打锦标赛男子甲组65公斤级第五名。男甲60公斤级张海伦,拳腿连接速度快,在2020年陕西省青少年散打锦标赛中获得男甲60公斤级第五名。男乙52公斤级侯一博,敢打敢拼,得分明显,拳重后鞭腿拿分,为了能够参加52公斤级比赛,在不到两个月时间从原来的63公斤降重至52公斤,其中所付出的努力是常人难以想象的。曾获得2020年陕西省青少年散打锦标赛男乙52公斤级第三名。女甲56公斤级胡子旎,训练中有韧劲,能吃苦,比赛中敢于进攻,赛前还要进行高考单招考试,依然在积极备战中。曾获得2018年陕西省第十六届运动会武术散打比赛女子乙组56公斤级第二名 ,并获得该项赛事的“体育道德风尚奖”及“优秀运动员”荣誉称号;2019年陕西省青少年武术散打锦标赛女子甲组56公斤级第三名,并取得国家二级运动员证书。女乙48公斤级马钰丞心,年龄小冲劲大,虽然面临即将中考的紧要时刻,还是分出精力积极备战本次测试赛。曾获得2020年陕西省青少年散打锦标赛女子乙组48公斤级第五名。作为主场,我市代表团6名运动员赛前都在积极备战、苦练技战术,相信他们一定会在运动会上发挥出正常水平,为家乡人民增光添彩。JmU安康新闻网

9.十四运武术散打、10公里马拉松游泳赛比赛地点在哪里? JmU安康新闻网

JmU安康新闻网

武术散打比赛地点:安康市体育馆JmU安康新闻网

位于安康市高新区长春路。甲级体育馆,占地面积160亩,总建筑面积36800平方米,座位数5000个。JmU安康新闻网

JmU安康新闻网

10公里马拉松游泳赛比赛地点:安康汉江公开水域JmU安康新闻网

位于安康市汉滨区瀛湖镇湖心村翠屏岛区域。占地面积226亩,总建筑面积19036㎡。具体项目包括全运之家酒店、全运会综合理疗中心、贵宾接待楼、赛道(2.5km×4)、媒体工作室等。JmU安康新闻网

10.承办第十四届全运会比赛项目对安康有何意义?JmU安康新闻网

十四运会安康赛事是省委、省政府交给我市的重大而光荣的任务,是展示安康发展成就、崭新形象的难得机遇,对激发全民体育热情、提升我市知名度和美誉度、带动消费具有重要意义。为成功举办全运会武术散打项目,我市新建了安康市体育馆,提升了基础设施水平,拓展了城市的发展空间。承办全运会比赛项目对于安康体育事业发展,将起到积极的促进作用,对竞技水平提高、全民健身活动等方面会有进一步的推动,在引领带动示范群众体育活动中将起到良好的促进作用。JmU安康新闻网

来源:安康市体育中心 洪莎莎JmU安康新闻网

(责编:殷婷)