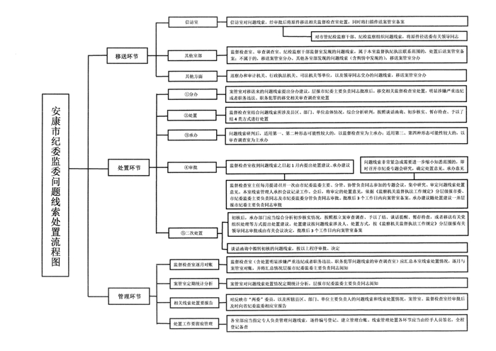
本网讯 (通讯员 刘九龙)近日,安康市纪委监委印发问题线索处置流程,对问题线索的移送、处置、管理等作出规定。据悉,制定该流程是落实《纪检机关监督执纪工作规则》《监察机关监督执法工作规定》,增强监督实效的举措。

市纪委监委有关负责人指出,精准处置才能高效办案,流程要义有四:问题线索处置与日常监督紧密结合,问题线索一个口子进、管处分离、议决分离。
今后,除有证据初步证明已涉嫌严重违纪违法、犯罪的问题线索直接移交相关审查调查室承办外,将由监督检查室结合问题线索所涉及单位总体情况,综合分析研判,按照谈话函询、初步核实、暂存待查、予以了结4类方式进行处置。问题线索坚持一个口子进,除信访室对问题线索直接移送监督检查室(同时送案管室备案)处置外,委内外其他各单位及各方面领导同志交办的问题线索,均由案管室接收、再分办。问题线索管理和处置分离,案管室对问题线索集中管理,经常与其他线索经手单位对账,对处置工作实施监督,并对处置情况进行统计分析,为领导决策提供参考。问题线索处置的提议和决策分离,由监督检查室提出处置方案,按问题线索涉及人,分层级由市纪委专题会议或市委决定。